

| 农夫山泉注册“农夫三拳”商标, 企业“山寨”自己的商标也是迫不得已 |
| 来源: 发布日期:2021-07-16 人气:919 |
|
提到农夫山泉我们都会想到那句熟悉的广告语——农夫山泉,有点甜。有网友根据这句话改编出了“农夫三拳——有点疼”
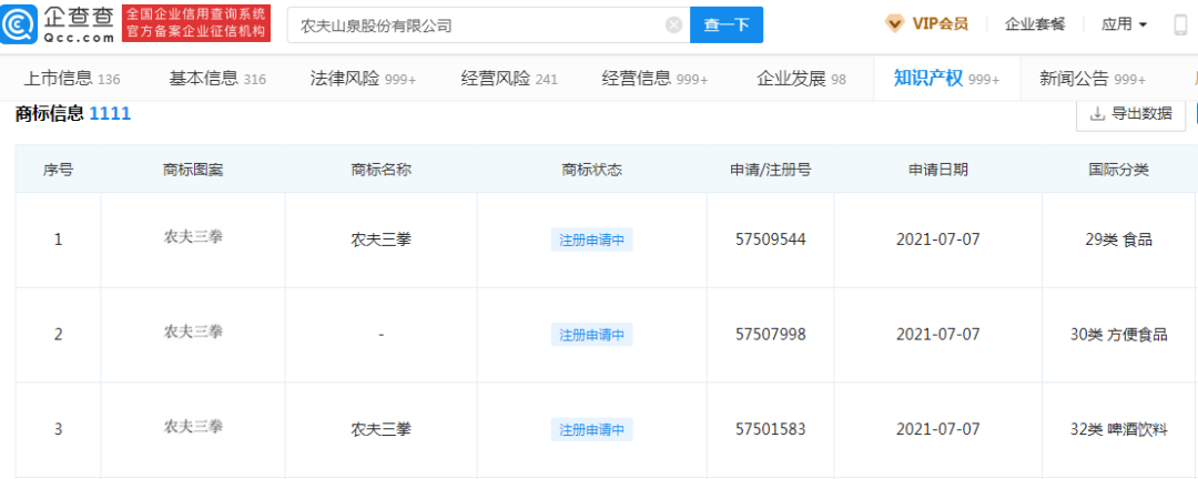
虽然这只是一个段子,但最近,农夫山泉公司可能也get到该段子的某些“槽点”,一转手就着手准备了“农夫三拳”商标的注册事宜了! 据查询发现,农夫山泉公司于今年7月7日提交了“农夫三拳”商标申请,注册在第29类-食品、30类-方便食品和32类-啤酒饮料等相关商品上,目前商标正在申请中。
值得一提的是,“农夫三拳”商标很受欢迎。据商标局官网查询截止目前共有12条“农夫三拳”商标申请记录。 最早在2007年开始就已经有企业或个人申请注册“农夫三拳”商标,其中大部分为驳回或是失效状态!但注册在第9类-科学仪器、25类-服装鞋帽和35类-广告销售等类别上的“农夫三拳”商标成功注册!
此外,还发现之前驳回的第39078803号“农夫三拳”商标与此次农夫山泉提交的第57509544号“农夫三拳”商标类别撞车!同时还有第29类的“农夫双拳”的商标已被注册…… 综合上述情况来看,农夫山泉此次申请“农夫三拳”商标也许并不会很顺利!毕竟,与在先注册商标构成近似是商标注册过程中的一大难题! 也许有人觉得农夫山泉此举看起来很可笑,但从企业商标布局方面来看却是必行之举!大品牌在商标注册这一点上,从来不含糊。
大企业的商标往往价值不菲,如果其他企业抢先注册了与自己商标名称“近似”的商标,又改变了字形和设计形式的话,对于他们成本低,但对于自己,不仅维权成本高,而且获赔概率低。 所以,为了避免被抢注的麻烦,避免“山寨”商标给自己的品牌带来不良影响,很多企业都会采取防御性商标注册。重视商标防御工作,才能更好得维护自身商标权益,才能降低商标被侵权的风险以及可能出现的经济及品牌上的损失! ——联 系 人:陶志国 ——联系电话:15055142001(微信同号) ——合肥蓝东知识产权代理事务所(普通合伙)期待您的垂询!
|